
| 为适应工程对土工格室性能的需求,拓展土工格室的功能和应用范围,基于相关技术的发展和生产设备的更新,会员单位进行了深入研发并申报专利。为了促进土工格室技术推广与应用,增进技术人员对土工格室产品的认识,加强沟通交流,中国土工合成材料工程协会秘书处继续收集整理了2024年8月份协会会员单位授权的土工格室相关专利,如有遗漏,请及时向秘书处反馈,以便整理汇总。 
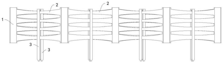
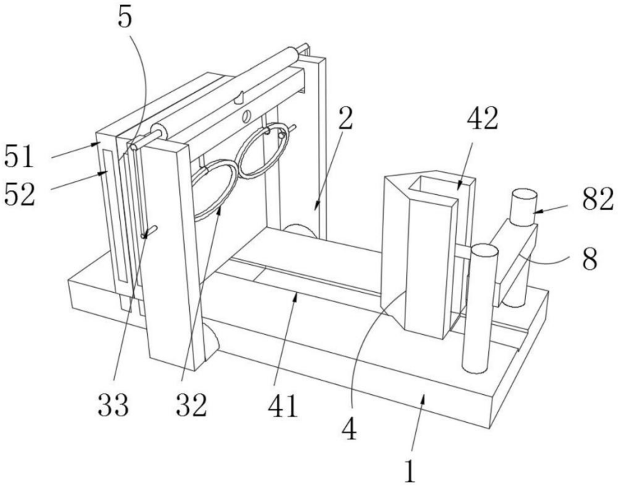
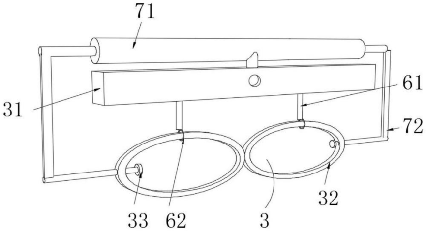
	实用新型 1.实用新型名称:一种具有锚杆的高强土工格室单元及高强土工格室 申请号:CN202322361902.5 公开号:CN221523511U 授权公告日:2024.08.13 专利权人:泸州胜扬新材料有限公司 本实用新型公开了一种具有锚杆的高强土工格室单元及高强土工格室,其包括两个加强块和位于两个加强块之间的拉伸成型的若干条带,以及与若干条带固定的锚杆。本实用新型能够提高土工格室的强度。     图2为图1的正视图; 图3为图1的俯视图。 图例说明: 1-加强块,2-条带,3-锚杆。 2.实用新型名称:一种土工格室塑料固定件耐冲击试验装置 申请号:CN202323478853.X 公开号:CN221485086U 授权公告日:2024.08.06 专利权人:山东锐宸工程材料有限公司 本实用新型公开了一种土工格室塑料固定件耐冲击试验装置,包括底座,底座的表面设置有冲击机构用于检测塑料固定件强度,冲击机构包括支撑架,安装在底座的两侧,约束单元,设置在支撑架的表面用于塑料固定件的夹持限位,本实用新型涉及耐冲击试验装置技术领域。该土工格室塑料固定件耐冲击试验装置,通过将塑料固定件绑在相对称的约束环连接处,然后启动外部油路,带动液管内的连接杆进行移动,从而使得套杆进行移动,从而使得套杆拉动约束环向两侧移动并产生绷紧,使得塑料固定件呈现稳定的绷紧状态并处于冲击区域的中心,此时通过冲击块的冲击即可准确的进行冲击模拟,得到较为准确的实验数据,更加贴合实际。   
	图1图1为本实用新型的结构示意图;   图2   图3 图2为本实用新型的冲击单元结构示意图; 图3为本实用新型的约束单元结构示意图。 图例说明: 1-底座、2-支撑架、3-约束单元、31-安装柱、32-约束环、33-套杆,4-冲击单元、41-移动槽、42-冲击块、5-包裹单元、51-软质套、52-硬板、6-吊绳组件、61-吊绳、62-吊环、7-液动组件、71-液管、72-连接杆、8-驱动组件、81-推动杆、82-气缸。 ——摘录自“国家知识产权局网站” 审核:许喜娟 整理、编辑:程凤娟 | 

冀公网安备 13010202002736号
冀ICP备17005494号 域名证书