
| 为适应工程对土工布性能的需求,拓展土工布的功能和应用范围,基于相关技术的发展和生产设备的更新,会员单位进行了深入研发并申报专利。为了促进土工布技术推广与应用,增进技术人员对土工布产品的认识,加强沟通交流,中国土工合成材料工程协会秘书处继续收集整理了2025年1月份协会会员单位授权的土工布相关专利,如有遗漏,请及时向秘书处反馈,以便整理汇总。
发明专利
1.发明专利名称:一种复合土工织物及排水加固结构 申请号:CN202010323399.2 公开号:CN111395308B 授权公告日:2025.01.21 专利权人:索玛工业(珠海)有限公司 本发明提供一种复合土工织物及排水加固结构,该复合土工织物包括从上至下依次设置的上层织物层、中层织物层和下层织物层,上层织物层为吸排水土工布,吸排水土工布包括第一经纱和第一纬纱,第一经纱和/或第一纬纱内含有芯吸纤维,第一经纱和第一纬纱之间形成多个第一穿孔;中层织物层为土工滤网,土工滤网设有多个第二穿孔;下层织物层为加筋土工布,加筋土工布上设有多个第三穿孔,第二穿孔的孔径分别大于第一穿孔的孔径和第三穿孔的孔径,第一穿孔、第二穿孔和第三穿孔相互导通。排水加固结构包括上述复合土工织物。本发明具有良好的土壤吸水排水能力和较长的使用寿命。
图1
图2 图3 图4 图5 图6 图1是本发明复合土工织物实施例的结构图。 图2是本发明排水加固结构实施例一的结构图。 图3是本发明排水加固加固实施例二的结构图。 图4是本发明排水加固加固实施例三的结构图。 图5是本发明排水加固加固实施例四的结构图。 图6是本发明排水加固加固实施例五的结构图。 2.发明专利名称:一种复合土工布及其制备方法 申请号:CN202411406851.6 公开号:CN118906577B 授权公告日:2025.01.21 专利权人:南通学帆工程材料科技有限公司 本发明提供了一种复合土工布,自上而下依次包括第一保护层、加强层、布体基层、抗菌层和第二保护层;所述第一保护层、加强层、布体基层、抗菌层和第二保护层之间均通过粘胶紧密连接;所述第一保护层、加强层、布体基层、抗菌层和第二保护层的厚度比为1:0.8‑1.0:0.6‑0.9:1.3‑1.8:0.3‑0.6:1.2‑1.5。通过引入保护层、加强层、抗菌层,并将层与层之间胶接形成整体复合土工布,使其具有优异的抗拉强度、抗变形能力、抗菌等性能。 3.发明专利名称:复合防排水板 申请号:CN202110868519.1 公开号:CN113431027B 授权公告日:2025.01.10 专利权人:山东铁科聚合科技有限公司 本发明公开了复合防排水板,包括底板、覆板、支撑键、地膜、第二加强筋、第一贴合槽、嵌合键、第一夹膜和第二夹膜,所述复合防排水板由底板和覆板构成,所述底板由支撑键和地膜构成,所述覆板由嵌合键、第一夹膜、无纺土工布和第二夹膜构成;所述支撑键等距平行分布于地膜表面,且地膜内部嵌入安装有第二加强筋,所述支撑键内部嵌入插接有对称分布的第一加强筋;所述无纺土工布位于第一夹膜和第二夹膜之间,所述嵌合键等距分布于第一夹膜下表面。本发明通过分别设置第一加强筋和第二加强筋,有效提高了底板和支撑键的强度,并且设置嵌合键更加利于覆板与支撑键之间的精确连接。
图1
图2 图3 图1为本发明的底板半剖结构示意图; 图2为本发明的底板与浮板主剖视结构示意图; 图3为本发明的支撑键与嵌合键剖视放大结构示意图。 图例说明: 1、底板;11、支撑键;12、第一加强筋;13、地膜;14、第二加强筋;15、第一贴合槽;2、覆板;21、嵌合键;22、第一夹膜;23、无纺土工布;24、嵌合槽;25、第二夹膜;26、第二贴合槽。
实用新型
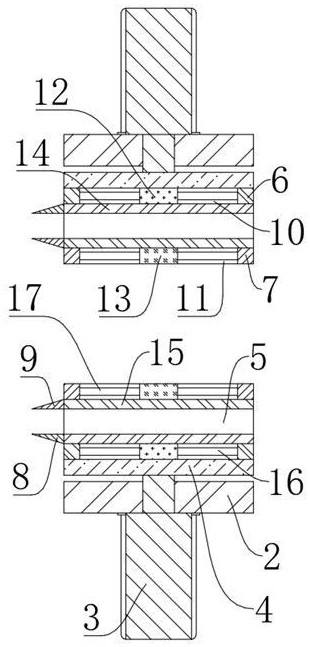
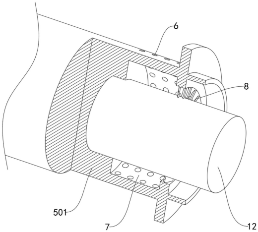
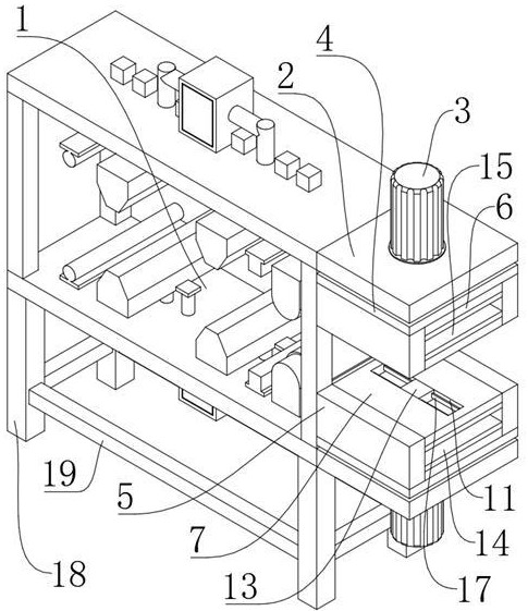
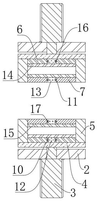
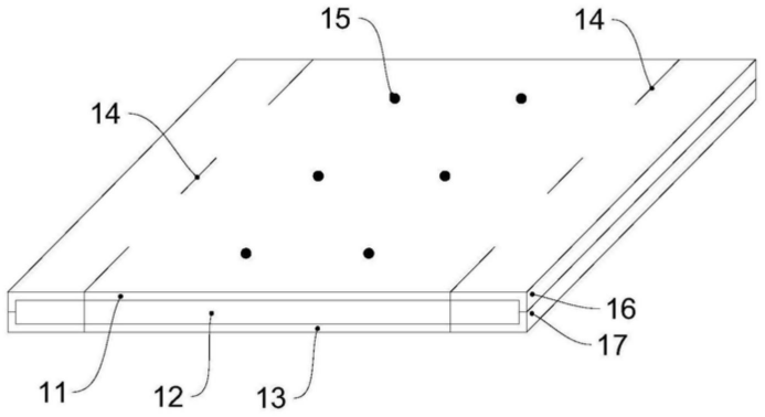
1.实用新型名称:一种土工布加工用压边机构 申请号:CN202420905732.4 公开号:CN222390075U 授权公告日:2025.01.24 专利权人:江苏百益合成材料有限公司 本实用新型涉及一种土工布加工用压边机构,包括:至少两个相对定点设置的压持部,所述压持部包括两个相对固定设置且同轴的转筒;构造在所述转筒内部的中空腔以及构造在转筒面部的出胶孔,所述出胶孔与中空腔相连通;与所述转筒同轴固设的固定管,其与所述中空腔相连通。本实用新型通过转筒与中空腔的配合,从而在两处转筒对布体进行压合过程中,胶料可以通过中空腔由出胶孔排出,从而在布体处于受压过程中渗入到布体,以更好的完成涂胶过程,从而提高压边质量,另外,本机构相比于现有技术来说,涂胶与压合均通过转筒配合完成,使得设备的结构更加简洁,制作成本更低。
图1
图2 图3 图4 图1为本实用新型的立体图。 图2为本实用新型的部分结构立体图。 图3为本实用新型中关于转筒内部结构示意图。 图4为本实用新型中关于加热辊内部结构示意图及与机架的连接示意图。 图例说明: 1、压持部;101、转筒;102、连接辊;2、中空腔;3、出胶孔;4、固定管;5、烘干组件;501、加热辊;6、出风口;7、气流腔;8、导流叶片;9、限位板;10、驱动电机;11、带轮组件;12、机架。 2.实用新型名称:一种边缘防水的土工布和高速铁路路基结构 申请号:CN202420254539.9 公开号:CN222375097U 授权公告日:2025.01.21 专利权人:天鼎丰聚丙烯材料技术有限公司 本实用新型属于土工布材料领域,公开了一种边缘防水的土工布和高速铁路路基结构。所述边缘防水的土工布包括土工布层和防水层,所述防水层覆盖于所述土工布层的所有边缘和至少部分表面。本实用新型在土工布层的所有边缘和至少部分表面设置防水层,防止水通过轨道板和水泥基层之间的缝隙接触到土工布的边缘,进而被吸入土工布内,解决寒冷季节土工布内部结冰的问题。
图1
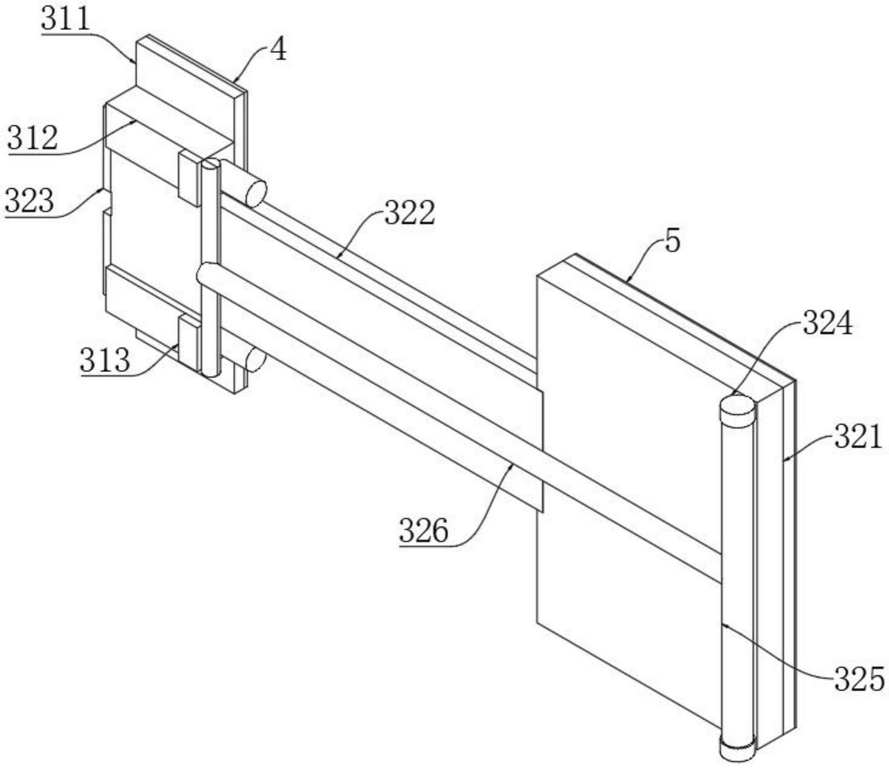
图1示出了本实用新型提供的一种边缘防水的土工布的结构剖面视图。 图例说明: 1土工布层;2防水层。 3.实用新型名称:带滑扣连接结构的增强混合型土工布 申请号:CN202421611509.5 公开号:CN222349947U 授权公告日:2025.01.14 专利权人:杭州申联宝塑实业有限公司 本实用新型公开了带滑扣连接结构的增强混合型土工布,涉及土工布技术领域,包括第一布体以及第二布体,其特征在于:所述第一布体与第二布体上设置有用于将两者扣接的滑扣连接机构,滑扣连接机构中包括:第一连接组件,设置于第一布体的一侧表面,并用于给第一布体以及第二布体提供连接定位;通过设计有滑扣连接机构,将L型插杆配合插入第一连接组件的孔块的通孔中,实现第一布体和第二布体的初步扣合连接,再下压双头轴杆上的套管和T型卡杆,使T型卡杆与凸块完成抵触卡接,使L型插杆稳定固定在孔块上,实现了第一布体和第二布体之间的快速、可靠连接,且连接结构牢固、易于操作,适用于各种土工布的连接需求。
图1
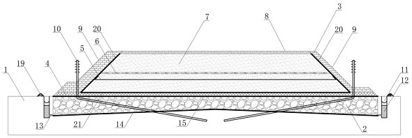
图2 图3 图4 图1为本实用新型的第一布体与第二布体组装示意图; 图2为本实用新型的第一布体与第二布体拆分示意图; 图3为本实用新型的滑扣连接机构结构示意图; 图4为本实用新型的双头轴杆与套管拆分示意图。 图例说明:第一布体1、第二布体2、滑扣连接机构3、第一连接组件31、第一底片311、孔块312、凸块313、第二连接组件32、第二底片321、连接杆322、L型插杆323、双头轴杆324、套管325、T型卡杆326、第一双面胶条4、第二双面胶条5。 4.实用新型名称:一种削减路面不均匀沉降的多年冻土路基降温结构 申请号:CN202421152266.3 公开号:CN222332388U 授权公告日:2025.01.10 专利权人:华南理工大学 本实用新型涉及一种削减路面不均匀沉降的多年冻土路基降温结构,该结构包括置于天然地基内的块石挤压层、置于块石挤压层上的路堤以及设在路堤上的通风砖、多个L型热棒、U型排水沟和渗水盲沟。天然地基为多年冻土区公路地基;块石挤压层的底部为横向排水坡,横向排水坡铺设不透水土工布Ⅰ、导水管;路堤由垫层、填土、沥青路面依次从下到上铺设构成;垫层铺设不透水土工布Ⅲ、透水土工布;填土的坡面铺设不透水土工布Ⅱ;填土中铺设加筋格栅和保温板;多个L型热棒安插于路堤两侧坡脚;路基的两侧各设一条U型排水沟和渗水盲沟。本实用新型有效解决在多年冻土区因路基吸热导致的下方多年冻土退化问题和因路基不均匀变形导致的路面纵向开裂问题。
图1
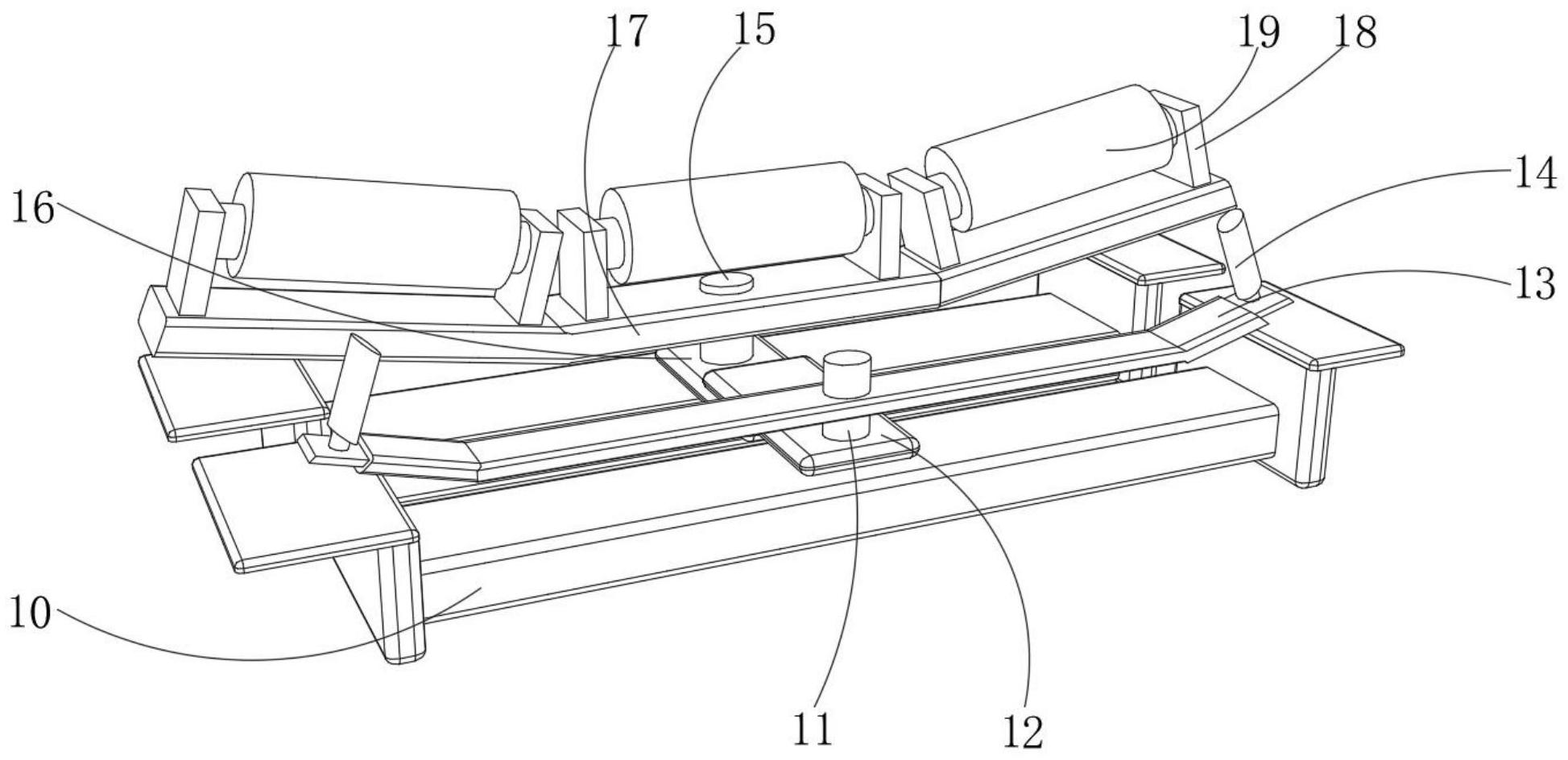
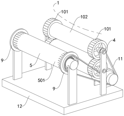
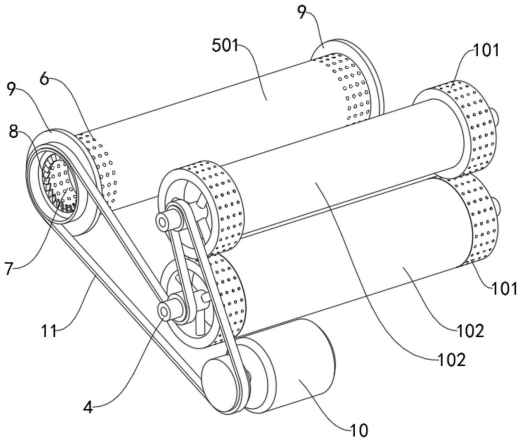
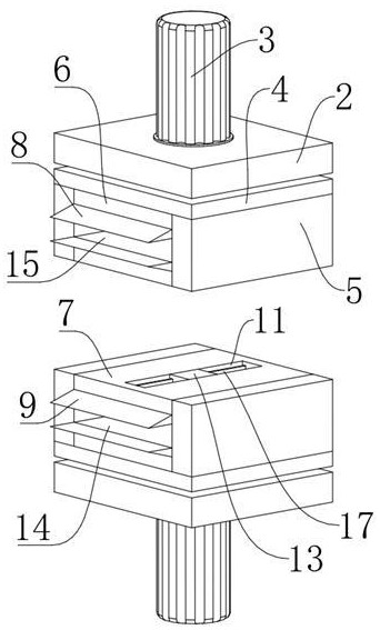
图2 图3 图4 图5 图6 图7 图8 图9 图10 图11 图1为本实用新型实施例中削减路面不均匀沉降的多年冻土路基降温结构的横断面图。 图2为本实用新型实施例中削减路面不均匀沉降的多年冻土路基降温结构的俯视图。 图3为本实用新型实施例中排水沟及渗水盲沟横断面图。 图4为本实用新型实施例中通风砖示意图。 图5为本实用新型实施例中L型热棒埋设连接示意图。 图6为本实用新型实施例中加筋格栅反包示意图。 图7为本实用新型削减路面不均匀沉降的多年冻土路基降温结构的施工方法流程图。 图8为传统热管路基的温度场分布图。 图9为本实用新型实施例的温度场分布图。 图10为传统热管路基阳坡路肩、路基中心和阴坡路肩的变形。 图11为本实用新型实施例的路基阳坡路肩、路基中心和阴坡路肩的变形。 图例说明: 1—天然地基;2—块石挤压层;3—路堤;4—垫层;5—加筋格栅;6—保温板;7—填土;8—沥青路面;9—通风砖;10—L型热棒;11—U型排水沟;12—渗水盲沟;13—导水管;14—不透水土工布I;15—透水土工布;16—粗颗粒填料;17—C20混凝土垫层;18—水泥砂浆垫层;19—挡水土捻;20—不透水土工布II;21—不透水土工布Ⅲ;22—不透水土工布Ⅳ;23—不透水土工布Ⅴ。 5.实用新型名称:一种土工布收放装置 申请号:CN202420217488.2 公开号:CN222293103U 授权公告日:2025.01.03 专利权人:宏诚合成材料(江苏)有限公司 本实用新型涉及土工布技术领域,公开了一种土工布收放装置,包括底板,所述底板的前侧设置有清理机构;所述清理机构包括:支撑架、第一旋转柱和风箱,所述支撑架的底部固定连接有基板,所述支撑架的内部固定连接有导流箱。本实用新型通过设置的清理机构,能够解决导致在收卷的时,会将粘黏在上面的泥土等污垢同时的卷起来,导致影响土工布的性能,导致卷取不均匀,可能会导致土工布卷筒上的不规则堆积,影响土工布的展开和使用的问题,通过气泵将气体通过连接管和输送管传递到通风管中,在通过风箱上的风挡板来进行风的流向从而有效的提高了对土工布的清洁,来确保土工布的干净度,来提高使用的寿命。
图1
图2 图3 图4 图5 图6 图7 图1为本实用新型提出的一种土工布收放装置的立体结构图; 图2为本实用新型提出的一种土工布收放装置的操控箱内部结构图; 图3为本实用新型提出的一种土工布收放装置的清理机构结构图; 图4为本实用新型提出的一种土工布收放装置的清理机构内部剖视结构图; 图5为本实用新型提出的一种土工布收放装置的输送管结构图; 图6为本实用新型提出的一种土工布收放装置的导流板示意图; 图7为本实用新型提出的一种土工布收放装置的第一连接柱结构图。 图例说明: 1、底板;2、清理机构;201、支撑架;202、导流箱;203、斜板;204、刮片;205、第一旋转柱;206、风箱;207、风挡板;208、第二旋转柱;209、基板;210、气泵;211、连接管;212、电磁阀;213、输送管;214、通风管;215、喷头;216、导流板;3、操控箱;4、电机;5、连接器;6、连接轴;7、筒套;8、固定器;9、防护罩;10、底托板;11、第一连接柱;12、第一连接板;13、固定架;14、转动轴;15、第二连接柱;16、第二连接板;17、固定板;18、连接块;19、转筒。 6.实用新型名称:一种土工布生产的定长切割装置 申请号:CN202421019312.2 公开号:CN222294529U 授权公告日:2025.01.03 专利权人:江苏百益合成材料有限公司 本实用新型涉及一种土工布生产的定长切割装置,包括,支撑架,所述支撑架包括放置板和滑轨,所述滑轨设置于所述放置板两侧,所述滑轨上设置有计量刻度;拖动件,所述拖动件与滑轨连接,压平件,所述压平件设置于所述放置板上;本实用新型的土工布生产的定长切割装置通过压平见对土工布压平,避免褶皱对精度造成影响。
图1
图2 图3 图4 图1为本实用新型的整体结构示意图; 图2为本实用新型中支撑架的的结构示意图; 图3为本实用新型中拖动件的结构示意图; 图4为本实用新型中压平件的结构示意图。 图例说明: 支撑架100、放置板101、支撑脚103、拖动件200、第一轴杆201、第一连杆203、卡夹204、滑轨102、第一滚轮202、压平件300、第二滚轮302、第二轴杆301、第二连杆303、压辊304、沟槽102a、角块102b、弧槽102c。 7.实用新型名称:一种土工布加工用去针装置 申请号:CN202421087815.3 公开号:CN222294514U 授权公告日:2025.01.03 专利权人:潍坊驼王实业有限公司 本实用新型公开了去针装置领域的一种土工布加工用去针装置,包括去针装置主体及位于其一端顶部与底部的电磁辊,去针装置主体靠近电磁辊一端表面两侧的顶部及底部均沿竖直方向滑动安装有固定块,同一水平面固定块相对面之间远离去针装置主体中部的一侧均沿水平方向滑动安装有第一移动板,第一移动板靠近去针装置主体的一端表面固定有第一锥形块,第二移动板靠近去针装置主体的一端表面固定有第二锥形块,在使用的过程中,有助于对电磁辊上吸附的针或是金属碎屑进行清理去除,避免针或是金属碎屑一直吸附在电磁辊上,以便于保证电磁辊对后续土工布上残留的针或是金属碎屑进行去除的效果,有助于对本去针装置进行使用。
图1
图2 图3 图4 图1为本实用新型的结构示意图; 图2为本实用新型的第二限位板结构示意图; 图3为本实用新型的第一移动板结构示意图; 图4为本实用新型的移动块结构示意图。 图例说明: 1、去针装置主体;2、固定板;3、液压缸;4、移动块;5、固定块;6、第一限位板;7、第二限位板;8、第一锥形块;9、第二锥形块;10、第一留置孔;11、第二留置孔;12、第一电动滑块;13、第二电动滑块;14、第一移动板;15、第二移动板;16、第一导轨;17、第二导轨;18、支撑腿;19、连接杆。
——摘录自“国家知识产权局网站”
|

冀公网安备 13010202002736号
冀ICP备17005494号 域名证书